Канализационная система является непременной в любом жилом доме или квартире. Она повышает комфортность проживания в сооружениях, причем состоит она из множества элементов. Основной ее частью выступает стояк канализации, проходящий через все квартиры в многоквартирном доме. Он представляет собой полноценную систему из различных элементов, соединенных в единое целое. Обычно для его изготовления используются высококачественные и надежные материалы, чтобы не возникала необходимость проводить часто ремонтные работы. Это обусловлено тем, что при необходимости выполнить ремонт, придется полностью перекрывать систему во всем доме. Однако, нередко возникают ситуации, когда надо заменить старый канализационный стояк, переставший справляться со своим назначением и выполнять основные функции. При этом следует разобраться, из каких частей он состоит, а также как правильно осуществить его замену.
Из чего состоит
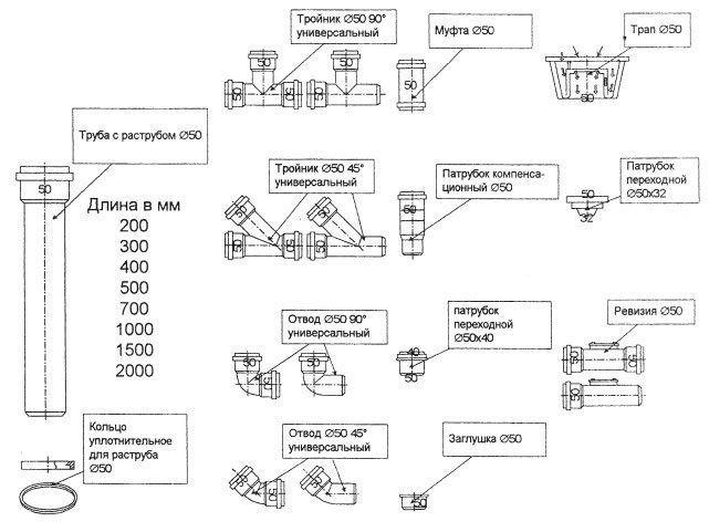
Стояк канализации представляет собой конструкцию, состоящую из нескольких элементов. Независимо от того, располагается ли он в частном или многоквартирном доме, в его составе имеются части:
- главная вертикальная труба — относительно недавно для ее формирования использовались только чугунные трубы, однако современные системы создаются с использованием качественных и надежных пластиковых труб. Они отличаются высоким показателем прочности и небольшим весом. Поэтому даже самостоятельный монтаж такой трубы не вызовет сложности у владельца жилого помещения;
- крестовина, предназначенная для последующей установки унитаза. Она монтируется на самом низу конструкции, причем одной из самых первых. Ниже ее не допускается устанавливать какие-либо трубопроводы или иные элементы канализационной системы. Если все же выполнить это, то при процессе смыва воды из унитаза, будет происходить срыв гидравлических затворов;
- компенсатор — применяется для стояка канализации, когда выполняется переход от одного вида трубы к другому. Наиболее часто приходится сталкиваться с тем, что в старой квартире имеется чугунный стояк, а его замена выполняется с использованием пластиковых труб. Поэтому без компенсатора не получится выполнить работу, так как иначе будет получено ненадежное и недолговечное сопряжение;
- ревизия — представлена небольшим участком трубы, обладающим оптимальным диаметром. На нем располагается люк, причем его можно легко открутить, если в этом возникнет необходимость. Обычно этот процесс осуществляется при засорении канализационной системы. Нередко люди, выполняющие монтаж своими руками без опыта работы, забывают о ревизии, поэтому уже при процессе эксплуатации системы при возникновении засоров приходится разрушать целостность стояка;
- тройник — используется, если к стоку подключается только одна раковина и ванна, а если дополнительно в квартире или доме имеются другие сантехнические приборы, то для увеличения количества выходов используется тройник. Диаметр его не может быть меньше 10 см.
Сложности могут возникать в процессе определения оптимального диаметра стояка, а во время данного процесса учитывается, что если имеется унитаз в квартире, то диаметр его выхода не может быть меньше 10 см, а если унитаза нет, то допускается выбирать трубу с диаметром от 5 см.












Особенности конструкции
Стояки канализации имеются в каждом доме, к которому подведена данная система. Они считаются надежными и долговечными, однако, могут возникать ситуации, когда требуется их замена. При этом следует разобраться в особенностях конструкции:
- при демонтаже старых чугунных труб надо действовать аккуратно, чтобы осколки не попали в систему, так как это приведет к ее засорению;
- особенно много внимания уделяется местам соединения разных труб, так как они должны быть надежными и долговечными;
- если работа осуществляется в многоквартирном доме, то на замену стояка придется получать разрешение в управляющей компании, а также договариваться с соседями, так как на время ремонта полностью перекрывается система во всем подъезде.
Перед непосредственными работами следует определиться, какие трубы будут использоваться для создания нового стояка канализации. При этом важно учитывать особенности каждого вида.


Виды по материалу изготовления
Так как стояк считается важнейшим элементом канализационной системы, важно, чтобы он создавался из качественных и долговечных материалов. Выбрать можно из нескольких вариантов:
- пластиковые или полипропиленовые трубы считаются наиболее востребованными, так как отличаются прекрасной эргономичностью и небольшим весом, а также просты в монтаже, что особенно актуально для людей, выполняющих данную работу своими руками впервые. Соединения отдельных элементов выполняется специальными стыками, оснащенными резиновыми прокладками, поэтому не требуется пользоваться какими-либо герметичными средствами или иными дополнительными материалами для повышения герметичности соединения;
- керамические трубы используются только опытными мастерами, так как новички могут не справиться с работой самостоятельно. Однако получаемый стояк будет стоек перед процессом коррозии и появлению различных налетов на внутренних сторонах труб;
- металлические стояки используются обычно в частных домах, так как здесь нет возможности повреждения трубопровода соседями. Чугун выбирается достаточно редко, поэтому обычно приобретаются стальные конструкции. К минусам этого материала относится низкая стойкость перед появлением ржавчины.






В процессе выбора труб по материалу изготовления учитывается легкость и особенности их соединения, причем для этого могут использоваться фитинги, муфты или прокладки.
Выбор сечения и размеров
При выборе трубы, которая будет применяться для создания стояка системы канализации, правильно определяются ее размеры и сечение. Это обусловлено тем, что при использовании канализации по назначению необходимо, чтобы создавался пропуск значительного водяного потока. Если трубы будут слишком узкими, то бытовые отходы могут стать причиной появления трудноустранимых засоров.
Однако, не рекомендуется выбирать и трубы со слишком большим сечением, так как разные сантехнические приборы обычно обладают небольшими выходными отверстиями, поэтому соединение будет осложнено. Также большие трубы будут существенно портить внешний вид любого помещения.
При выборе оптимального сечения и размеров трубы учитываются рекомендации специалистов:
- для городских квартир или частных домов, в которых имеется небольшое количество помещений с установленными сантехническими приборами, оптимальным выбором будут трубы, обладающие диаметром 10 см;
- для ванных комнат, кухни или биде, выбираются трубы еще меньшего диаметра, так как здесь не смываются значительные по размеру бытовые отходы;
- учитывается, что в процессе эксплуатации внутренний диаметр всех труб постоянно уменьшается за счет скапливания на стенках многочисленных отложений;
- если многоквартирный дом обладает большим количеством этажей, то оптимальными считаются стояки с диаметром от 15 см;
- для канализационного стояка идеально подходят пластиковые трубы, причем если соединить их герметично, а также грамотно выбрать разные углы наклона в горизонтальных частях системы, то внутри труб практически полностью будут отсутствовать какие-либо отложения.
Таким образом, в одной канализационной системе могут использоваться разные трубы, обладающие отличным диаметром, поскольку правильный выбор размеров и сечения зависит от особенностей каждого участка системы.




Процедура замены стояка канализации
Водопровод и канализация – это важные части любого дома или квартиры, поэтому если возникают какие-либо проблемы с их работоспособностью, то непременно следует заняться ремонтными работами как можно быстрее. Замена стояков требуется достаточно редко, так как они создаются из действительно прочных и надежных материалов. Однако после длительного срока эксплуатации даже самые качественные конструкции нуждаются в замене.
Замена стояка может выполняться своими руками, если будет получено разрешение на этот процесс от управляющей компании дома, а также процедура будет согласована с другими жителями многоквартирного дома. Если выполняется процесс в частном строении, то никаких разрешений не требуется.


Весь процесс замены делится на последовательные этапы:
- подготовительные работы — они заключаются в подготовке разных ключей, болгарки и иных инструментов для процесса замены. Также в помещении удаляются все лишние предметы, и укрывается сантехника, чтобы она не была повреждена или загрязнена в процессе замены оборудования;
- демонтаж старого стояка — данный процесс осложнен в квартире, так как придется договориться с соседями, поскольку в процессе работы полностью отключается система канализации во всем подъезде. С помощью болгарки отрезается стояк сверху и снизу под оптимальным углом, а вырезанный участок осторожно вынимается. В результате остаются небольшие участки труб сверху и снизу. Их следует так же отрезать, причем оптимальным решением считается обращение к соседям, чтобы к ним в квартиры входили новые пластиковые трубы. Если этого выполнить невозможно, то вставляются муфты в отрезки в квартире, где проводится ремонт;
- монтаж нового стояка — проводится расчет необходимого количества материал для работы. Выбираются трубы, причем наиболее часто используются современные и высококачественные пластиковые изделия. В раструбы, имеющиеся сверху и снизу помещения, вставляются резиновые манжеты, обеспечивающие высокую герметичность планируемых соединений. Формируется переходник, используемый для подсоединения к стояку канализационных труб от различных сантехнических приборов. Отрезается нужный участок новой трубы, после чего она вставляется в раструбы. Если диаметр новой трубы меньше старой, то добавляются еще манжеты из резины, что обеспечит прочность соединения;
- проверяется прочность и герметичность полученной конструкции и всех соединений. Если имеются протечки или иные проблемы, то они оперативно устраняются.






Таким образом, стояки канализационной системы – это ее важнейшие части, имеющиеся в каждой квартире или доме. Они могут выполняться из различных труб, а также должны быть надежными и обладающими подходящим сечением и размером. Стояк достаточно легко заменить самостоятельно, если хорошо разобраться в данном процессе, а также выбрать качественные материалы. Получается конструкция, которая будет служить долгие годы, а также обладать нужными параметрами. Особенно много внимания в процессе работы должно быть уделено местам соединения, поскольку не допускаются какие-либо протечки или иные проблемы. Если же при монтаже будут допущены ошибки, они должны устраняться сразу.